今天是:2015年04月01日 17:45:42 星期三

当前位置

对传染病防治工作的监督检查
发布时间:2017-10-08 10:24 来源: 浏览次数: 次
恢复窄屏

事项名称

对传染病防治工作的监督检查

事项类型

行政检查

行使层级

县级

通办范围

县级

承诺办结时限

实施主体性质

法定本级行使

法定办结时限

受理部门

绥德县卫生局卫生监督所

咨询电话

0912-5765369

联办机构

监督电话

0912-5765369

办理地点

绥德县政务服务中心94号窗口

办理时间

法定工作日上午800-12:00;下午14:00-17:30 八九月下午15:00-18:00

服务对象

法人

办理依据

《中华人民共和国传染病防治法》第五十三条 县级以上人民政府卫生行政部门对传染病防治工作履行下列监督检查职责:对用于传染病防治的消毒产品及其生产单位进行监督检查,并对饮用水供水单位从事生产或者供应活动以及涉及饮用水卫生安全的产品进行监督检查

受理条件

申请材料

结果名称

现场检查

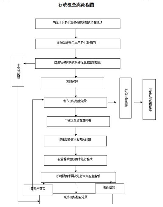
办理流程

收费情况

表格及样表