|
事项名称
|
职业培训补贴申请受理、审核和支付
|
|
事项类型
|
其他类审批权
|
行使层级
|
县级
|
|
通办范围
|
县级
|
承诺办结时限
|
无
|
|
实施主体性质
|
法定本级行使
|
法定办结时限
|
无
|
|
受理部门
|
绥德县人社局
|
咨询电话
|
0912-5622169
|
|
联办机构
|
无
|
监督电话
|
0912-5622169
|
|
办理地点
|
绥德县政务服务中心4楼
|
|
办理时间
|
法定工作日上午8:00-12:00;下午14:00-17:30 八九月下午15:00-18:00
|
服务对象
定点培训机构
办理依据
《陕西省财政厅、陕西省人力资源和社会保障厅关于规范和加强就业专项资金使用管理的通知》(陕财办社﹝2012﹞1号)第三条(十五)职业培训补贴的申请,受理和支付。第一款定点职业培训机构对四类人员进行培训的,于培训后6个月内任一受理期内,向同级人社部门申请职业培训补贴。经人社部门审核后,同级财政部门将补贴支付给单位。第二款个人缴费参加定点职业培训机构培训的,在规定时间内,向定点职业培训机构所在地(或本人户籍所在地或本人就业单位所在地)的县(区)人社部门申请职业培训补贴。经人社部门审核后,将补贴支付给本人。
受理条件
1定点职业培训机构对四类人员进行培训的,于培训后6个月内任一受理期内,向同级人社部门申请职业培训补贴。
2经人社部门审核后,同级财政部门将补贴支付给单位。
3个人缴费参加定点职业培训机构培训的,在规定时间内,向定点职业培训机构所在地(或本人户籍所在地或本人就业单位所在地)的县(区)人社部门申请职业培训补贴
4经人社部门审核后,将补贴支付给本人
申请材料
无
结果名称
准予审批或不予审批
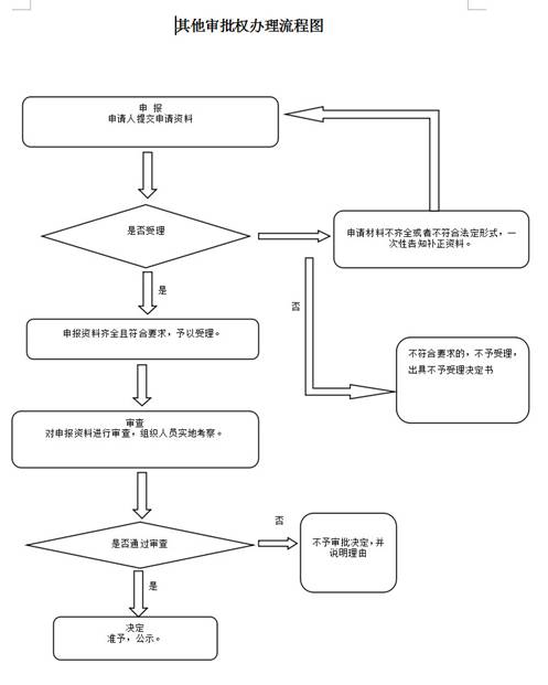
办理流程

收费情况
否
表格及样表
无
|